Устройство и принцип работы
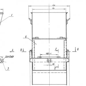
Бункер топки ТШПМ представляет собой трапециевидный металлический корпус на опоре с отверстием для забрасывания топлива. Горючее загружаются в бункер при помощи грейферов, транспортеров или скипового подъемника. В зависимости от количества потребляемого топлива, рассчитывается объем бункера – емкость может быть в пределах от 6 до 18-часового расхода топлива.
Особенности и преимущества
- Простота конструкции обеспечивает легкий монтаж;
- Удобное использование упрощает работу котельной;
- Возможно изготовление бункера с опорами и без них;
- Возможность выбрать необходимую емкость бункера.
Размещение и установка
Бункер топики ТШПМ может устанавливаться для всей котельной или монтироваться непосредственно к каждому котельному агрегату. Сама установка бункера должна производиться специалистами, имеющими разрешение на работу с подобными оборудованиями.








